![]() |
| モトローラの次期エントリースマホ「moto g06」と見られる「XT2535-6」が技適通過!日本で発売へ |
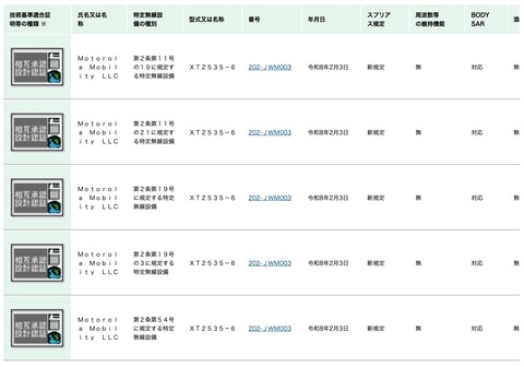
総務省が「技術基準適合証明等を受けた機器の検索」のデータベースを更新し、新たにMotorola Mobility(以下、Motorola)の4G対応エントリースマートフォン(スマホ)「moto g06」となる型番「XT2535-6」の電波法に基づく工事設計認証(いわゆる「技適」)を相互承認(MRA)によって2026年2月3日(火)付けでCTC/cetecom advancedを通じて取得しています。認証番号は「202-JWM003」。
XT2535-*は海外ですでに2025年9月に発表されているmoto g06および「moto g06 power」の型番ですが、Motorolaの公式Webサイトによれば、XT2535-6はmoto g06となるとのこと。これにより、日本でも現在販売されている非常に低価格な既存機種「moto g05」の後継機種としてMotorolaの日本法人であるモトローラ・モビリティ・ジャパン(以下、モトローラ)が日本でmoto g06を発売する準備を進めていることが明らかとなりました。
moto g05は日本で2025年3月に発売されており、moto g06も春から夏頃に投入されるのではないかと予想されます。なお、恐らくmoto g06もmoto g05と同様に日本ではオープン市場向けメーカー版(いわゆる「SIMフリーモデル」)として販売されるのだと考えられ、moto g05がおよそ2万円前後で販売されているため、moto g06も同じくらいの価格になると見られます。
moto g05はMotorola Mobilityが展開しているエントリー向けmoto gシリーズにおける最新機種で、日本では昨年3月に発売されたmoto g05に続く5Gに非対応の低価格なエントリースマホとなり、同じように同社において最も低価格な製品となっており、チップセット(SoC)もmoto g05と同じくMediaTek製「Helio G81 Extreme」となり、オクタコアCPU「2.0GHz Arm Cortex-A75コア×2+1.7GHz Arm Cortex-A55コア×6」やデュアルコアGPU「820MHz Arm Mali-G52 MC2」となっています。
そのため、性能的にはほぼ同じになると思われ、内蔵メモリー(RAM)は4GBまたは8GBのモデルがあり、それぞれ内蔵ストレージを活用したRAMブースト機能によって合計最大12GBおよび24GBで利用でき、スムーズなパフォーマンスが得られるようになっているとのこと。また内蔵ストレージは64GBまたは128GB、256GBのモデルがあり、外部ストレージとしてmicroSDXCカードスロット(最大1TB)が搭載されています。なお、RAMはLPDDR4Xとなっています。
画面はmoto gシリーズ史上で最大となるアスペクト比9:20.5の縦長な約6.88インチHD+(720×1640ドット)IPS液晶ディスプレイ(約263ppi)を搭載し、moto g05では上部中央にパンチホールを配置していましたが、moto g06では水滴型ノッチになり、リフレッシュレートはmoto g05の最大90Hzからmoto g06では最大120Hzに向上してよりスムーズな表示と滑らかな操作が可能となっており、8bitカラー(1600万色表示)や明るさ最大600nitsに対応しています。画面占有率は約84.50%に達し、画面は強化ガラス「Gorilla Glass 3」(Corning製)で覆われているということです。
また背面はmoto g05と同様に低価格ながらもシリコンポリマー素材によるフェイクレザー仕様となっており、側面などのフレームは樹脂製とのことで、防水・防塵性能はmoto g05のIP52準拠の防滴・防塵からmoto g06ではIP64準拠の生活防水・防塵になり、画面が水に濡れても操作しやすい「ウォータータッチ」機能を搭載しています。サイズは約171.35×77.50×8.31mm(最薄部)、質量は約194g、本体色はArabesque(オレンジ系)およびLaurel-Oak(グレー系)、Tapestry(ディープグリーン系)、Tendril(ライトグリーン系)の4色展開。
パンチホール部分には約800万画素CMOS(1画素1.12μm)/広角レンズ(F2.0)のフロントカメラが内蔵され、顔認証に対応しており、生体認証としては側面指紋センサーを搭載しています。リアカメラは約5000万画素CMOS(1画素0.64μm、4in1、PDAF)/広角レンズ(F1.8)のリアカメラが搭載され、位相差検出オートフォーカス(PDAF)用センサーと環境光センサーを搭載しているのでより素早く正確なピント合わせと色合いを表現でき、さらにAI(人工知能)を活用したAIカメラに対応しているため、簡単にSNSなど向けにより“映え”のあるスナップショットを撮影できたりするということです。
音響面でもBass BoostとDolby Atmosに対応したステレオスピーカーを搭載しており、moto g05よりも2倍もパワフルな低音を実現し、エンターテイメント体験がさらに向上しています。またFMラジオや3.5mmイヤホンマイク端子も搭載。なお、マイクは1つのみ搭載となっています。電池持ちは大容量5200mAhバッテリーを搭載し、最長2日間の使用時間を誇り、最大10Wの急速充電によって素早く充電可能となっています。外部接続・充電端子はUSB Type-C(USB 2.0、DisplayPort 1.4)に。
その他の仕様ではWi-Fi 5に対応したIEEE802.11a/b/g/n/ac準拠(2.4および5GHz)の無線LAN、Bluetooth 5.4、位置情報取得(A-GNSS:GPS、GLONASS、Galileoなど)、加速度センサー、近接センサー、環境光センサー、NFC Type A/B(モデルによる)など。SIMや携帯電話ネットワークの対応周波数帯は販売される国・地域などによって異なりますが、nanoSIMカード(4FF)スロットが2つのデュアルSIMデュアルVoLTE(DSDV)をサポートし、中東(MEA)など向け(XT2535-3)の対応周波数帯は以下の通り。
[moto g06 - XT2535-3]
5G NR: -
4G LTE: Band 1, 2, 3, 5, 7, 8, 18, 19, 20, 26, 28, 38, 40, 41
3G W-CDMA: Band I, II, V, VIII
2G GSM: 850, 900, 1800, 1900MHz
記事執筆:memn0ck
■関連リンク
・エスマックス(S-MAX)
・エスマックス(S-MAX) smaxjp on Twitter
・S-MAX - Facebookページ
・エスマックス(S-MAX)
・総務省 電波利用ポータル | 技術基準適合証明等を受けた機器の検索 | XT2535-6(202-JWM003)
・Global Blog | Motorola announces motorola edge 60 neo, moto g06 power and moto g06 at Lenovo Innovation World at IFA 2025 motorola edge 60 neo moto g06 power moto g06 announced at Lenovo Innovation World
・Large screen moto phones with 50 MP AI camera | moto g06 | motorola UK | motorola
・Specifications - moto g06| Motorola Support ROE
・Motorola | motorola




