![]() |
| 楽天モバイルがエリアマップを更新!6月14日時点のデータに |
楽天モバイルは5日、同社が移動体通信事業者(MNO)として自社回線(以下、楽天回線)を構築して提供している携帯電話サービス(
なお、サービスエリアマップは新料金プラン「Rakuten最強プラン」の開始に合わせて4Gについては楽天回線エリアとパートナー(au)回線エリアを合わせた「データ高速無制限エリア」として表示するようになっており、楽天回線のみの4Gエリアについてはホームルーターサービス「Rakuten Turbo」で利用できるサービスエリアマップ(
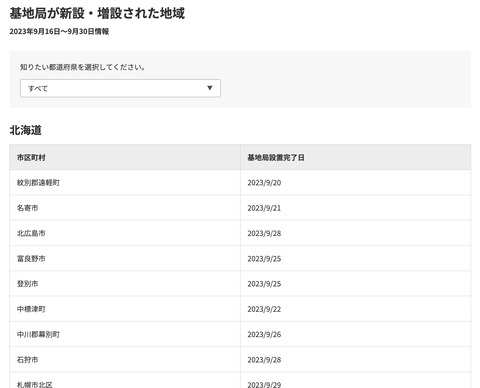
また同社では10日、今年7月より楽天回線の新たな基地局設置状況を公開している「Rakuten最強プラン」プロジェクトにおける2023年9月16日(土)から7月15日(土)までに新たに全国42都道府県152市区町村で、2023年7月16日(土)から9月30日(土)までに新たに全国46都道府県313市区町村で基地局を設置したことを明らかにしています。
楽天モバイルでは楽天回線による正式サービス「Rakuten UN-LIMIT」を2020年4月に開始し、楽天回線エリアにおけるデータ通信は使い放題、専用アプリ「Rakuten Link」での音声通話・SMSも無料で月額3,278円(金額はすべて税込)で使え、さらに何度かアップグレードされて6月1日から新料金プランの「Rakuten最強プラン」に刷新し、パートナー(au)回線エリアも含めて3GB以下なら月額1,078円、20GB以下なら月額2,178円、使い放題で月額3,278円となっています。
なお、Rakuten Linkでの音声通話・SMSはカウントフリーとなっているほか、Rakuten Linkは今年8月にパソコン(PC)向けデスクトップ版も提供予定となってます。またキャリアメールサービス「楽メール」も提供されています。そんなRakuten最強プランの提供開始に合わせてサービスエリアマップが更新され、Rakuten最強プランでは楽天回線だけでなくau回線でも同じ料金となることに伴い、4Gエリアについては楽天回線とau回線の合算表示となっています。
一方、新たに快適な通信環境を提供するために「Rakuten最強プラン」プロジェクトに取り組んでおり、全国各地の楽天モバイル基地局設置情報が市町村単位で公開されて確認可能で、2023年9月16日~30日に全国46都道府県313市区町村で新たな基地局が設置されたとのことです。
例えば、東京都でもかなり新たな基地局が設置されていることが示されています。ただし、同一市区町村で基地局設置完了場所・完了日が複数ある場合は最新情報としてまとめて記載しているため、詳細な基地局の場所は不明で、サービスエリアマップの情報更新は後日となり、実際のサービス利用可能エリアはサービスエリアマップで確認するように案内されています。
記事執筆:memn0ck
■関連リンク
・エスマックス(S-MAX)
・エスマックス(S-MAX) smaxjp on Twitter
・S-MAX - Facebookページ
・楽天モバイル 関連記事一覧 - S-MAX
・
・
・


